品牌:COPPUS
类别:JECTAIR HP and Hornet HP
电话:133-7212-5666
产品描述:JECTAIR HP and Hornet HP 文丘里风机,COPPUS文丘里风机,JECTAIR鼓风机,Hornet HP文丘里风机
简介:
COPPUS品牌JECTAIR HP and Hornet HP文丘里风机,具有质量轻、耐撞击、传导型聚合材料、扩散管坚固不易损坏等特点。其中,COPPUS JECTAIR Hornet HP可以提供提供3S-HP、3-HP、6-HP三种尺寸;聚合材质可安全排除静电;扩散管为低密度的聚乙烯材质,UL等级为94-V2, 操作温度可达93"C。是“高性能,高效率之鼓风文丘里风机”的代表作,Coppus Jectair HP在工业界被公认效能较优良的鼓风文丘里风机, 与旧式文丘里风机相比较,新式文丘里鼓风机能达到40:1的空气流量转换,并减少26%压缩空气的消耗。
特色:
•五种尺寸供选择:9,8,6-HP,3-HP,3S-HP
•HI Performer (HP)及Hornet系列皆可提供6-HP,3-HP,3S-HP
•送风量为 1,370-8,900cfm(2,328-15,121 m³/hr)
•进/出气额定比可达40:1
•喷嘴与外壳一体成型
•高静电压性能
•提供钢质,铝质或防撞聚合材质多款扩散管(Hornet HP型)
•钢制扩散管以黄色环基氧粉及传导材料包覆,可排除静电
•无可卸式组件,免维修
•所有型号配备静电接地线及弹簧夹
•可在扩散管末端接伸缩风管(亦可选用风管入口拼合器)
•可选用三角架
操作原理:
压缩空气或蒸气透过单一入口接合装置 进入Jectair鼓风机。由喷嘴喷出的气体或蒸气,形成文丘里原理,吸引周围空气经由入口进入Jectair,空气便透过管状扩散管以高速率的方式被排放出来。
注意:操作效能依赖压缩空气之流量及压力
COPPUS JECTAIR文丘里风机选型:
型号 | 颜色 | 材质 | 压力100psig的风量 | 图片 | 适用环境 |
3S-HP | 黄色 | 镀锌钢 | 2820m³/hr | 普通环境 | |
3-HP | 黄色 | 镀锌钢 | 3160m³/hr | ||
6-HP | 黄色 | 镀锌钢 | 8274m³/hr | ||
8 | 黄色 | 镀锌钢 | 11469m³/hr | ||
9 | 黄色 | 镀锌钢 | 15120m³/hr | ||
3S-HP Hornet | 黑色 | 聚乙烯 | 2820m³/hr | 易燃易爆环境 | |
3-HP Hornet | 黑色 | 聚乙烯 | 3160m³/hr | ||
6-HP Hornet | 黑色 | 聚乙烯 | 8274m³/hr |
性能:
进/出气额定比=总送风量m³/hr/空气消耗量m³/hr
型号 | 入口风机 | ||
60 psig 4.2kg/cm2 | 80 psig 5.6kg/cm2 | l00psig 7kg/cm2 | |
3S-HP | 5.8" / 147mm | 7.5" / 191mm | 89' / 224mm |
3-HP | 5.8〃 / 147mm | 7.5" / 191mm | 8.9" / 224mm |
6-HP | 4.3" / 109mm | 5.2” / 132mm | 6.7" / 170mm |
8 | 3.9" / 99mm | 5.2” / 132mm | 6.2” / 157mm |
9 | 5.5" / 140mm | 6.8" / 173mm | 7.7” / 196mm |
型号 | 风管直径 | 自由风 | 20ft/6m | 30ft/9m | 40ft/12m | 50ft/15m |
3-HP | 8" 203mm | 1,700/2,888 | 1,550/2,634 | 1,480/2,515 | 1,410/2,396 | 1,350/2,294 |
6-HP | 12”305mm | 4,500/7,645 | 4,020/6,830 | 3,860/6,558 | 3,715/6,312 | 3,580/6,083 |
8 | 14”356mm | 6,250/10,620 | 5,550/9,431 | 5,280/8,972 | 5,050/8,581 | 4,850/8,241 |
9 | 14" 356mm | 8,000/13,592 | 6,850/11,640 | 6,550/11,130 | 6,250/10,620 | 6,000/10,195 |
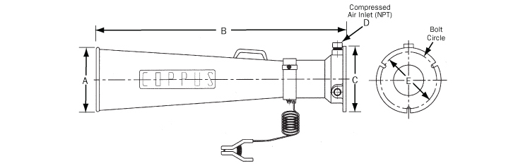
尺寸结构图:

尺寸规格参数表:
•在危险环境中务必使用接地线(COPPUS Jectair标准配备),以利于静电排放
•操作时需要避免固体或瓦砾进入入口
•密闭容器排放烟雾时,注意不可造成真空状态以免容器破裂。
使用现场:

联系人:沈先生
手 机:133-7212-5666
邮 箱:China@swn.cn
公 司:苏州萨沃纳
地 址:江苏省昆山市庆丰西路555号